公制蜂窝状六角锁紧螺母 费博瑞工业零部件(上海)有限公司
首页 >> 产品中心 >> 螺母/铆接螺母/嵌件类产品 >> 公制蜂窝状六角锁紧螺母
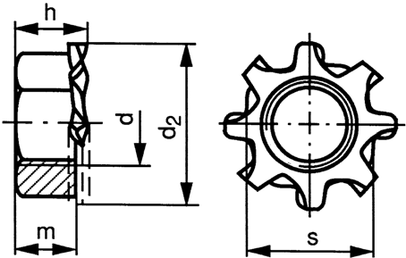
公制蜂窝状六角锁紧螺母
 
技术参数

d

P

m

s

h

d2

M3

0,5

2,4

5,5

3,1

6,6

M4

0,7

3,2

7

4

8

M5

0,8

4

8

5,1

9,2

M6

1

5

10

6,1

11,4

M8

1,25

6,5

13

7,9

14,9

M10

1,5

8

17

9,6

19

产品种类

Thread

Driving features

Material

Surface treatment

Packaging

Code

M

hexagon

St

Zipl

Standard

11490