公制T型方颈螺栓 费博瑞工业零部件(上海)有限公司
首页 >> 产品中心 >> 吊环/活节类产品 >> 公制T型方颈螺栓
公制T型方颈螺栓
 
DIN 186B
NEN 2309
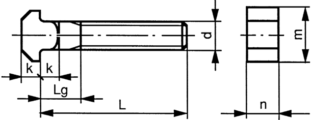
技术参数

d

P

Lg (max.)

k

n

m

M8

1,25

13

5,5

8

18

M10

1,5

16

7

10

21

M12

1,75

19

8

12

26

M16

2

25

10,5

16

30

M20

2,5

31

13

20

36

M24

3

37

15

24

43

M27 (≠DIN)

3

40

18

27

48

M30

3,5

43

19

30

54

产品种类

Thread

Material

Class

Packaging

Code

Page

M

St

≥3.6

Standard

16190

5-2

M

St.St. A4

 

Standard

55782

5-2